Streambelt Plus
Der schnelle und einfache Sicherheitsgurt
Der Streambelt ist einfach zu bedienen. Mit einer leichten, schnellen Bewegung klickt der Fahrer den Gurt ein und aus. Kontaktieren Sie uns für weitere Informationen!
Der Sicherheitsgurt wird einfach an den vorhandenen Sitz und Gabelstapler montiert. Das mitgelieferte Gurtschloss verfügt über einen Schalter, der verhindert, dass der Fahrer mit dem Gabelstapler losfährt, solange der Gurt nicht angelegt ist. Sie können aus verschiedenen Gurtschlösser wählen. Lang, kurz oder extra flexibel. Wir haben mehrere auf Lager und schnell verfügbar.
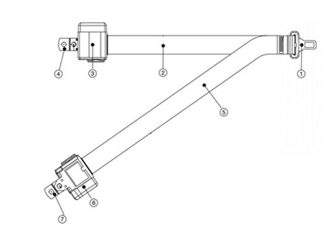
Der Streambelt besteht aus mehreren Teilen:
1. Gürtelzunge zum Einstecken in das Gurtschloß
2. Schwarzes Gurtband
3. Retraktor Typ ELR, Br4M
4. Montagestreifen
5. Rotes Gurtband
6. Retraktor
7. Montagestreifen
Gurtmontage wie folgt:
Montieren Sie den Befestigungstreifen (4) des Streambelts an die rechte Seite des Sitzes
Montieren Sie den Retraktor (3) in einem Winkel von 32º (+/- 10º)
Mitgeliefertes Gurtschloß wird an die linke Seite des Sitzes montiert
Montieren Sie den Montagestreifen (7) an die linke Säule der Kabine. Hinweis: Befestigungsmaterial wird nicht mitgeliefert). Achten Sie darauf, dass der Retraktor in der richtigen Höhe angebracht wird, damit der Gurt über das Lenkrad fällt.
)
Linke Spalte: Streambelt Plus ist geöffnet
Rechte Spalte: Streambelt Plus ist geschlossen
EBLO Seating B.V.5Besseren Service kann man sich kaum vorstellen“ Dieses Unternehmen versucht, alles für seine Kunden zu tun, ein besserer Service ist schwer vorstellbar. Komplette Kommunikation auf Fragen und Antworten. Ausgezeichnete Qualität der Produkte, kaufte 2 Autositze. ”
EBLO Seating B.V.5Guter Service“ Guter Service, kompetente Leute! ”
EBLO Seating B.V.4Gute Hilfe bei einer schwierigen Wahl...“ Wir haben bei EBLO neue Sitze für unser Auto gekauft; meine Frau ist wegen ihrer Rückenprobleme sehr kritisch. Die Auswahl bei EBLO ist sehr groß (nicht eine Marke, sondern viele Marken!), aber man half uns mit unendlicher Geduld, die beste Wahl für uns zu treffen. Der Service während und nach der Installation der Sitz war erstklassig. Äußerst empfehlenswert! ”
J. Nijs
Jochem
Joos van Vugt